История и техника Breguet Expérimentale 1

Обзор Breguet Expérimentale 1 и его магнитного спуска

24.03.2026

В мире швейцарских часов Breguet Expérimentale 1 стал настоящим прорывом, изменившим представление о механических часах. Эта модель, выпущенная в честь 250-летия бренда, представляет собой не только техническое достижение, но и новую эру в часовой индустрии.

Магнитный спуск, разработанный Swatch Group, может стать революцией в производстве часов. Пока его индустриализация только начинается, Expérimentale 1 уже привлек внимание коллекционеров СНГ.

Генеральный директор Breguet Грегори Киссинг Грегори Киссинг рассказывает о будущем бренда Breguet.

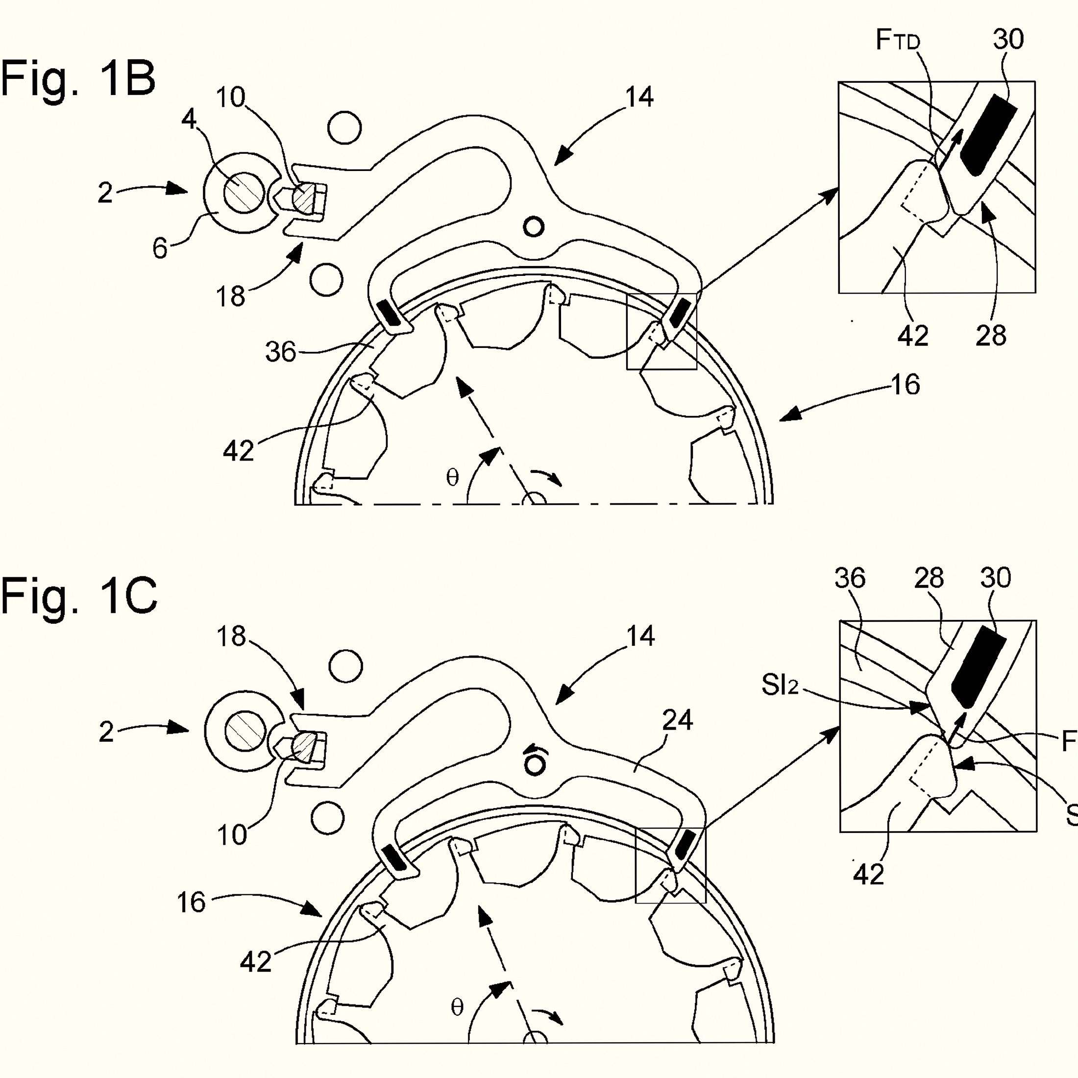
Абрахам-Луи Бреге, основатель бренда, всегда стремился к совершенству в часах. Его интерес к магнитным технологиям, которые могли бы устранить трение и повысить точность, вдохновил на создание Expérimentale 1. Однако первые попытки таких спусков, как у британца Сесила Клиффорда, были неудачными из-за сложности и проблем с пылью.

Сегодня Breguet предлагает решение, использующее мощные самарий-кобальтовые магниты и инновационную конструкцию, которая обеспечивает стабильность и точность. Эта технология открывает новые возможности не только для Breguet, но и для других брендов Swatch Group, таких как Blancpain и Omega.

Хронометр Breguet 106 Один из первых морских хронометров Breguet.

Несмотря на высокую цену в Европе — 320 000 CHF, Expérimentale 1 привлекает внимание благодаря своим инновациям и уникальному дизайну. Это не просто очередные швейцарские часы, а настоящий шаг в будущее часового мастерства.

В заключение можно сказать, что Breguet Expérimentale 1 — это не просто инновация, а новая глава в истории швейцарских часов. В ближайшие годы мы можем ожидать появления более доступных моделей с этой технологией, что сделает ее доступной для более широкого круга коллекционеров в России и СНГ.

Часы Breguet 1176 Винтажные часы Breguet, отражающие английское влияние.

Демонстрационные часы Демонстрационные часы Breguet с постоянной силой.

Патент на магнитный спуск Патент, раскрывающий технологию магнитного спуска.

Патент на магнитный спуск Технические детали патента Breguet.

Hamilton 992B Прототип механизма с магнитным спуском от Hamilton.

Hamilton 992B Прототип механизма с магнитным спуском от Hamilton.

Breguet 10Hz Магнитный регулятор Breguet с частотой 10 Гц.

Grande et Petite Sonnerie Часы с большим и малым боем от Breguet.

Патент Детали патента на магнитный спуск.

Фигура 12 Схема работы магнитного спуска.

Фигура 20 патента Технические детали патента на магнитный спуск.

Спуск Breguet Инновационный спусковой механизм Breguet.

Спусковой механизм Подробности конструкции спуска.

Магнитный спуск Магнитный спуск Breguet в действии.

Сила трения Работа магнитного спуска без трения.

Breguet Expérimentale 1 Экспериментальный дизайн и инновации в часах Breguet.

Breguet Историческое наследие и инновации Breguet.

Breguet Expérimentale 1 Экспериментальный дизайн и инновации в часах Breguet.

Breguet Expérimentale 1 Экспериментальный дизайн и инновации в часах Breguet.

Breguet Expérimentale 1 Экспериментальный дизайн и инновации в часах Breguet.

Breguet Expérimentale 1 Экспериментальный дизайн и инновации в часах Breguet.

Breguet Expérimentale 1 Экспериментальный дизайн и инновации в часах Breguet.

Часы Souscription Редкие часы из коллекции Souscription от Breguet.

Breguet Type XX Chronographe 2075BH Хронограф Type XX от Breguet.

Breguet Expérimentale 1 Экспериментальный дизайн и инновации в часах Breguet.

Breguet Expérimentale 1 Экспериментальный дизайн и инновации в часах Breguet.

Breguet Expérimentale 1 Экспериментальный дизайн и инновации в часах Breguet.

Breguet Expérimentale 1 Экспериментальный дизайн и инновации в часах Breguet.

Breguet Expérimentale 1 Экспериментальный дизайн и инновации в часах Breguet.

Breguet Expérimentale 1 Экспериментальный дизайн и инновации в часах Breguet.

Breguet Expérimentale 1 Экспериментальный дизайн и инновации в часах Breguet.

Urban Jürgensen UJ-1 Конкурент Breguet в мире эксклюзивных часов.

Breguet Expérimentale 1 Экспериментальный дизайн и инновации в часах Breguet.

Читайте также
Часовые новости
24.03.2026
Новая версия Vacheron Constantin Traditionnelle Perpetual Calendar
Вдохновлённая винтажем новинка Vacheron Constantin удивила всех
Часовые новости
24.03.2026
Орис Большая Корона "Bullseye": Возрождение классики
Узнайте о возвращении легендарной модели Oris с уникальным циферблатом "Bullseye".
Часовые новости
24.03.2026
Сравнение Omega Speedmaster Moonwatch и Rolex Daytona
Сравнение новых моделей Omega Speedmaster и Rolex Daytona для ценителей швейцарских часов.
Часовые новости
24.03.2026
Новый TAG Heuer Carrera Chronograph Seafarer: дань прошлому
TAG Heuer представил часы Carrera Chronograph Seafarer с циферблатом, вдохновленным Solunar.
Часовые новости
24.03.2026
Urwerk UR-10 SpaceMeter: традиции и новаторство
Швейцарские часы Urwerk UR-10 SpaceMeter совмещают классический циферблат с уникальными функциями.
Часовые новости
24.03.2026
Bühlmann Decompression 02: инструмент в мире подделок
Откройте для себя уникальные швейцарские часы, которые объединяют науку декомпрессии и надежность.
Часовые новости
24.03.2026
Новинки Zenith Defy Revival A3643 и переиздания
Узнайте о Zenith Defy Revival A3643 и текущих трендах на рынке переизданий.
Часовые новости
24.03.2026
Обзор Isotope Moonshot Chronograph Terra Maris
Узнайте об уникальном дизайне и характеристиках Isotope Moonshot Chronograph Terra Maris.